Product Name
Cast Iron Non Return Valve PN 1.0 (With Bye Pass Arrangement) (Flanged)
Article Code
Product Name
Article Code
PN 1.0 –
Test Pressure (Hydrostatic) :
Shell : 1.5 MPa
Seat : 1.0 MPa
Maximum Working Temperature : 80°C

| Suitable For |
|---|
|
Steam |
|
Water |
|
Oil |
|
Air |
|
Gases |
PN 1.0 –
Test Pressure (Hydrostatic) :
Shell : 1.5 MPa
Seat : 1.0 MPa
Maximum Working Temperature : 80°C

| Steam | Water | Oil | Air | Gases |
|---|---|---|---|---|
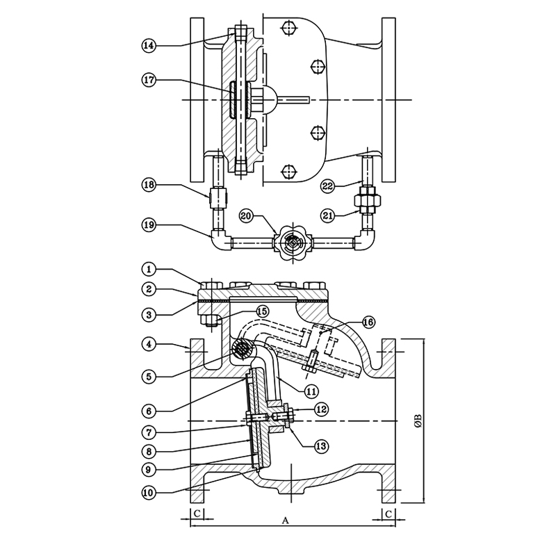
| P.No. | Name of Part | Material of Material | Specification | Qty. | |
|---|---|---|---|---|---|
| 1 | Bolts | Carbon Steel | IS 1363 Part 1 Class 4.6 |
|
|
| 2 | Cover | Cast Iron | IS 210 Gr. FG 200 | 1 | |
| 3 | Gasket | Nitrile Rubber | IS 638 Type B | 1 | |
| 4 | Body | Cast Iron | IS 210 Gr. FG 200 | 1 | |
| 5 | Hinge Pin | Stainless Steel | IS 6603 Gr. X04 Cr19Ni9 | 1 | |
| 6 | Body Seat Ring | Bronze | IS 318 Gr. LTB 2 | 1 | |
| 7 | Bolts | Carbon Steel | IS 1363 Part 1 Class 4.6 | 1 | |
| 8 | Washer | Carbon Steel | – – – | 1 | |
| 9 | Disc Facing | Nitrile Rubber | IS 638 Type B | 1 | |
| 10 | Disc | Cast Iron | IS 210 Gr. FG 200 | 1 | |
| 11 | Hinge | Cast Iron | IS 210 Gr. FG 200 | 1 | |
| 12 | Bolt (Optional) | Carbon Steel | IS 1363 Part 1 Class 4.6 | 1 | |
| 13 | Washer | Carbon Steel | – – – | 1 | |
| 14 | Plug | Stainless Steel | IS 6603 Gr. 12 Cr12 | 2 | |
| 15 | Nut | Carbon Steel | IS 1363 Part 3 Class 4.0 | As Reqd. | |
| 16 | Split Pin (Optional) | Carbon Steel | – – – | 1 | |
| 17 | Hinge Bush | Bronze | IS 318 Gr. LTB 2 | 1 | |
| 18 | Pipe Socket | S.G.Iron | IS 1865 Gr. SG400/15 | 1 | |
| 19 | Pipe Elbow | S.G.Iron | IS 1865 Gr. SG400/15 | 2 | |
| 20 | By Pass Valve | Bronze Gate valve | ISI Marked Class-1 | 1 | |
| 21 | Pipe Union | S.G.Iron | IS 1865 Gr. SG400/15 | 1 | |
| 22 | By Pass Pipe | Galvanized Iron | — | As Reqd. |
| P.No. | Name of Part | Material of Material | Specification | Qty. | |
|---|---|---|---|---|---|
| 1 | Bolts | Carbon Steel | IS 1363 Part 1 Class 4.6 |
|
|
| 2 | Cover | Cast Iron | IS 210 Gr. FG 200 | 1 | |
| 3 | Gasket | Nitrile Rubber | IS 638 Type B | 1 | |
| 4 | Body | Cast Iron | IS 210 Gr. FG 200 | 1 | |
| 5 | Hinge Pin | Stainless Steel | IS 6603 Gr. X04 Cr19Ni9 | 1 | |
| 6 | Body Seat Ring | Bronze | IS 318 Gr. LTB 2 | 1 | |
| 7 | Bolts | Carbon Steel | IS 1363 Part 1 Class 4.6 | 1 | |
| 8 | Washer | Carbon Steel | – – – | 1 | |
| 9 | Disc Facing | Nitrile Rubber | IS 638 Type B | 1 | |
| 10 | Disc | Cast Iron | IS 210 Gr. FG 200 | 1 | |
| 11 | Hinge | Cast Iron | IS 210 Gr. FG 200 | 1 | |
| 12 | Bolt (Optional) | Carbon Steel | IS 1363 Part 1 Class 4.6 | 1 | |
| 13 | Washer | Carbon Steel | – – – | 1 | |
| 14 | Plug | Stainless Steel | IS 6603 Gr. 12 Cr12 | 2 | |
| 15 | Nut | Carbon Steel | IS 1363 Part 3 Class 4.0 | As Reqd. | |
| 16 | Split Pin (Optional) | Carbon Steel | – – – | 1 | |
| 17 | Hinge Bush | Bronze | IS 318 Gr. LTB 2 | 1 | |
| 18 | Pipe Socket | S.G.Iron | IS 1865 Gr. SG400/15 | 1 | |
| 19 | Pipe Elbow | S.G.Iron | IS 1865 Gr. SG400/15 | 2 | |
| 20 | By Pass Valve | Bronze Gate valve | ISI Marked Class-1 | 1 | |
| 21 | Pipe Union | S.G.Iron | IS 1865 Gr. SG400/15 | 1 | |
| 22 | By Pass Pipe | Galvanized Iron | — | As Reqd. |
| Size (Inches) | Size (mm) | A | ØB | C | By Pass Size |
|---|---|---|---|---|---|
| 2* | 50 | 203 ±2 | 165 (+1.5/-1.0) | 16 +2 | 1/2″ |
| 2 1/2* | 65 | 216 ±2 | 185 (+1.5/-1.0) | 16 +2 | 1/2″ |
| 3 | 80 | 241 ±2 | 200 ±4.5 | 21 ±3 | 1/2″ |
| 4 | 100 | 292 ±2 | 220 ±4.5 | 22 ±3 | 1/2″ |
| 5 | 125 | 330 ±2 | 250 ±4.5 | 22.5 ±3 | 1/2″ |
| 6 | 150 | 356 ±2 | 285 (+5.5/-2.5) | 23 ±3 | 1/2″ |
| 8 | 200 | 495 ±3 | 340 (+5.5/-2.5) | 24.5 ±3 | 1″ |
| 10 | 250 | 622 ±3 | 395 (+5.5/-2.5) | 26 ±3 | 1″ |
| 12 | 300 | 698 ±3 | 445 (+5.5/-2.5) | 27.5 ±3 | 1.1/2″ |
* Flanges as per IS 5312 Part 1
All Rights Reserved. Zoloto Industries. INDIA